一、工作原理
谷物经清选后,由提升机送至谷物干燥机储粮段,由料位器自动控制上粮,粮食在干燥机内运行方向与 热风(冷风)流动方向成混流,实现预热、干燥、缓苏、干燥、冷却的整个过程,排粮采用无级调速,可以 随意控制产量和降水幅度,从而达到理想的干燥效果,最后由排粮机送出。
二、使用范围
适用于粮食、玉米、水稻、大豆、小麦、淀粉、制药、饲 料、制酒、油菜籽等行业的谷物干燥作业。
主塔结构:由储粮段、干燥段、缓苏段、干燥段、缓苏 段、 冷却段、排粮机构组成。
三、特点
高效、节能、安全、可靠;干燥产品优质均匀,无污染, 可调性好,占地面积小;操作、维修、运输方便;风温自动数 字显示,料位自动控制,积木结构,水分自动数字显示。
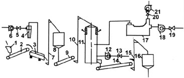
四、TZH型系列粮食干燥机典型工艺流程图
![]() | ![]() |
| 1.料斗 2.皮带输送机 3.筛分机 4.除尘器 5.风量调节器 6.风机 7.提升机 8.前储仓 9.皮带输送机 10.提升机 11.干燥机 12.冷风机 13.风量调节器 14.皮带输送机 15.提升机 16.后储仓 17.热风炉 18.热风机 19.风量调节器 20.风量调节器 21.引风机 |
五、技术参数表
说明:
1.表中参数均以烘干玉米为准;
2.表中所给装机容量,视配套而定,小时耗煤量,随降水幅度及实际条件而波动;
3.表中耗煤为标准煤;
4.根据用户需求,本公司可为用户提供各种规格型号的粮食(种子)干燥机成套系统产品
| 型号 | TZH-120 | TZH-150 | TZH-200 | TZH-250 | TZH-300 | TZH-400 | TZH-500 |
| 处理量t/d | 120 | 150 | 200 | 250 | 300 | 400 | 500 |
| 装机容量 | 70.3 | 77.3 | 114.3 | 142.2 | 172.2 | 208.7 | 220.7 |
| 降水幅度% | 12-14 | ||||||
| 热风温度℃ | <120可调整 | ||||||
| 耗煤量kg/h(标煤) | 228 | 285 | 342 | 452 | 570 | 684 | 912 |
| 主塔外形尺寸m×m×m | 4.2*3.1*14 | 4.2*3.1.15 | 4.2*3.1*17 | 4.2*3.1*19 | 4.2*3.1*21 | 4.2*3.1*24 | 4.2*3.1*23 |
| 主塔高度m | 14 | 15 | 17 | 19 | 21 | 24 | 23 |







