一、特点
1、热效率高,整体效率≥75%。
2、机械化程度高,运行稳定,操作方便。
3、对煤种的适应能力强,可使用发热值4500千卡/千克以上的多种煤。
4、对烘干机适应能力强,可与横流、混流、顺逆流烘干机等各种烘干设备、取暖设施配套使用。
5、投资小,运行费用低。
6、使用寿命长,主机使用寿命≥10年,换热器≥5年。
二、主要参数及配套表
| 型号 | 适用 煤种 | 适用 煤种 | 换热器 入口烟温 | 热风器 出口风温 | 排烟 温度 | 鼓风机 | 引风机 | 除渣机 (直段长度) | 上煤机 |
| WZL-5 (120) | Ⅱ;Ⅲ 类 烟煤 | 5×103MJ/h (120×104Kcal/h) | ≤800℃ | ≤120℃ | ≤200℃ | 4-72;No3.6A P=3KW | Y5-47;5.0C P=7.5KW | 不配置 除渣机 | 不配置 上煤机 |
| WZL-7.5 (180) | 7.5×103MJ/h (180×104Kcal/h) | 4-72;No4.0A P=3KW | Y5-47;5.0C P=15KW | 3000mm | 自制通用 QRS倾斜 式上煤机 | ||||
| WZL-10 (240) | 10×103MJ/h (240×104Kcal/h) | 4-72;No4.0A P=5.5KW | Y5-47;6C P=22KW | 3000mm | |||||
| WZL-12.5 (300) | 12.5×103MJ/h (300×104Kcal/h) | 4-72;No4.5A P=7.5KW | Y5-47;8.0C P=22KW | 3000mm | |||||
| WZL-15 (360) | 15×103MJ/h (360×104Kcal/h) | 4-72;No4.5A P=7.5KW | Y5-47;9.0C P=30KW | 3000mm | |||||
| WZL-17.5 (420) | 17.5×103MJ/h (120×104Kcal/h) | 4-72;No5A P=15KW | Y5-47;9.0C P=37KW | 3000mm | |||||
| WZL-20 (480) | 20×103MJ/h (480×104Kcal/h) | 4-72;No5.0A P=15KW | Y5-47;10C P=37KW | 3000mm | |||||
| WZL-25 (600) | 25×103MJ/h (600×104Kcal/h) | 4-72;No6.0A P=15KW | Y5-47;10C P=45KW | 3400mm |
注:1、出渣机的形式为“单链刮板出渣机”。2、出渣机的型号:外购为DGZ;自制为LSC型。
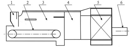
三、结构图
| 1. 煤斗 2. 链条炉 3. 燃烧室 4. 沉降室 5. 换热室 6. 热风出口 | ![]() |






